服務熱線
19857007412
美控渦輪流量計是一種速度式儀表,它具有精度高,重復性好、結構簡單、耐高壓、測量范圍寬、體積小、重量輕、壓力損失小、壽命長、操作簡單、維修方便等優點,用于封閉管道中測量低粘度、無強腐蝕性、清潔液體的體積流量和累積流量。可廣泛應用于石油,化工,冶金,有機液體,無機液,食品,藥品等行業
19857007412
美控渦輪流量計是一種速度式儀表,它具有精度高,重復性好、結構簡單、耐高壓、測量范圍寬、體積小、重量輕、壓力損失小、壽命長、操作簡單、維修方便等優點,用于封閉管道中測量低粘度、無強腐蝕性、清潔液體的體積流量和累積流量。可廣泛應用于石油,化工,冶金,有機液體,無機液,食品,藥品等行業


·具有較高的抗電磁干擾和抗震動能力,性能可靠工作壽命長
·采用先進的超低功耗單片微機技術,整機功能強,功耗低,性能優越。
·對累積流量、儀表系數進行掉電保護。保護時間大于10年













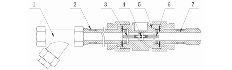
1.過濾器 2.前直管段 3.前導流體 4.葉輪 5.傳感器殼體 6.后導流體 7.后直管段
1.卡簧 2.傳感器殼體 3.前導流體 4.葉輪 5.后導流體
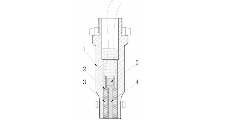
1.前置放大器殼體 2.線圈骨架 3.線圈4.純鐵棒 5.永久磁鋼





















